Przejdź do głównej treści
biuro@bajdrew.pl
polski
Zamknij wyszukiwarkę Wyczyść Szukaj
Produkty w koszyku: 0. Zobacz szczegóły

Twój koszyk jest pusty

Cechy produktu

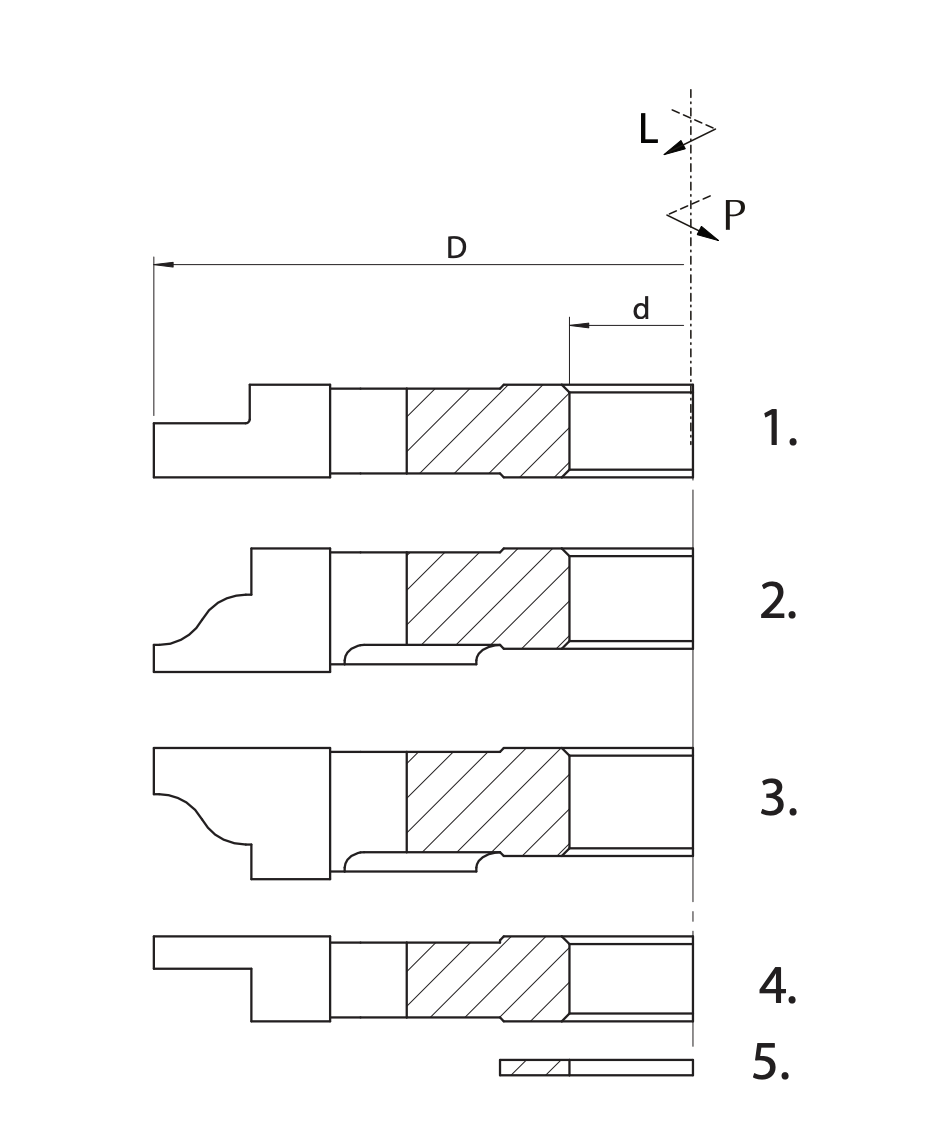
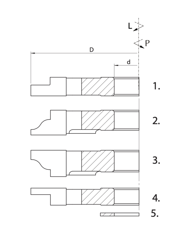
Frezy nasadzane

  • Typ Zestaw
  • Zastosowanie Zaokrąglanie
  • Średnica 140 mm
  • Średnica otworu 30 mm
  • Promień Nie dotyczy
  • Wysokość robocza 27 mm

Opis

FABA Zestaw do produkcji drzwiczek meblowych

Zestaw frezów nasadzanych, profilowych typ FP-12 z czterema ostrzami skrawającymi, przeznaczony do profesjonalnej obróbki drewna oraz materiałów drewnopochodnych jak płyty wiórowe, MDF i inne. Zestaw zaprojektowany do frezowania profilu wzdłużnego i czopowania jednostronnych drzwiczek meblowych. Regulacja szerokości za pomocą przekładek dołączonych do zestawu. Frezowanie kilku profili przy wykorzystaniu jednego zestawu.

  • Średnica (D [mm]): 140.00
  • Wysokość robocza (b [mm]): 27.00
  • Średnica otwor0u (F [mm]): 30.00
  • Liczba zębów (Z): 4
  • Ostrze: HSS - stal szybkotnąca

MADE IN POLAND

Przeznaczenie: profilowanie wzdłużne drzwiczek meblowych o profilu jednostronnym. Drewno miękkie

Opinie

Liczba ocen: 0
Oceń i opisz